最新资讯

  • 最新资讯了解最新公司动态及行业资讯

2026-01-312 阅读量

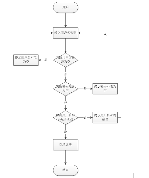
计算机毕业设计springboot考研社区网站mk9kd(配套有源码 程序 mysql数据库 论文) 本套源码可以在文本联xi,先看具体系统功能演

2026-01-312 阅读量

提升电梯运力智能梯控硬件改造与适配电梯早高峰归底方案整体设计与实现核心架构概述多奥将采用分层模块化设计,分为时间调度层、

2026-01-312 阅读量

Fasd 终极移动环境指南:如何在笔记本电脑和服务器间无缝切换 【免费下载链接】fasd Command-line productivity booster, off

2026-01-312 阅读量

3大系统+5种方案:开源媒体服务器Jellyfin多平台部署指南 【免费下载链接】jellyfin Jellyfin 是一个自由、开源的家庭媒体中心

2026-01-312 阅读量

本文还有配套的精品资源,点击获取 简介:SSL(Secure Sockets Layer)是用于互联网加密通信和身份验证的安全协议,Java通过

2026-01-312 阅读量

海外短剧赛道进入精细化运营阶段,单纯的内容搭建已无法支撑项目长效盈利,本地化适配不足、流量分发低效、合规风控缺失等问题,

2026-01-312 阅读量

谁懂啊!顺序表真的是编程面试里的“常驻嘉宾”,但也是好多小伙伴的“痛点盲区”😫!                     

2026-01-312 阅读量

Qwen3-VL模型托管方案:随用随停,比常驻服务器省70% 1. 为什么需要随用随停的模型托管方案 作为个人开发者,你是否遇到过这样的

2026-01-312 阅读量

本文介绍如何在阿里云搭建自己的物联网MQTT消息服务器,并使用 “MQTT客户端调试工具”模拟MQTT设备,接入平台进行消息收发。 ​